Фланцевые DN 40-100, угловые
Description
Фильтры в угловом исполнении применяются для установки на объектах с ограниченным пространством, где установка обычных (линейных) газовых фильтров затруднена по строительной длине.
Фильтры в угловом исполнении имеют низкий коэффициент гидравлического сопротивления (на 40% ниже в сравнении с линейными);
МАТЕРИАЛ КОРПУСА:
- Алюминиевые сплавы АК12ОЧ, АК12ПЧ.
КЛИМАТИЧЕСКОЕ ИСПОЛНЕНИЕ:
- У3.1 (-30...+60 °C);
- У2 (-45...+60 °C);
- УХЛ1 (-60...+60 °C).
МАКСИМАЛЬНОЕ РАБОЧЕЕ ДАВЛЕНИЕ:
- 3 бар (0,3 МПа);
- 6 бар (0,6 МПа);
МАТЕРИАЛ ФИЛЬТРУЮЩИХ ЭЛЕМЕНТОВ (СТЕПЕНЬ ФИЛЬТРАЦИИ):
| Материал фильтрующего элемента | Степень фильтрации |
| Полимерный (полиэтилен) | 2 мкм |
| 5 мкм | |
| 10 мкм | |
| 20 мкм | |
| 50 мкм (по умолчанию) | |
| Сетчатый (металлическая сетка) | 400 мкм |
| 600 мкм | |
| 800 мкм |
ТЕМПЕРАТУРА РАБОЧЕЙ СРЕДЫ:
- (-40...+90 °C) - для фильтров с полимерным фильтрующим элементом;
- (-60...+120 °C) - для фильтров с сетчатым фильтрующим элементом.
МОНТАЖНОЕ ПОЛОЖЕНИЕ:
- на горизонтальных или вертикальных трубопроводах.
ДОПОЛНИТЕЛЬНО:
- Все фильтры могут быть укомплектованы индикаторами загрязненности фильтрующего элемента;
- Возможно изготовление фильтров со встроенным конденсатоотводом;
- Конструкция фильтра позволяет снимать фильтрующий элемент для его очистки или замены без демонтажа фильтра с трубопровода.
Модификации

|
Наименование
фильтра
|
DN |
Давление
рабочее
максимальное,
МПа
|
Рабочая
площадь
фильтр.
элемента,
м2
|
Размеры, мм |
Масса,
кг
|
Коэффциент
сопротивления
|
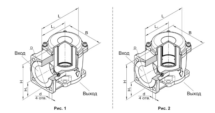
Рис.
|
||||||
|
L
|
L1
|
B
|
H
|
H1
|
D
|
d
|
|||||||
| ФН11/2-2 У фл. | 40 | 0,3 | 0,017 |
148
|
92
|
108
|
145
|
54
|
100
|
14
|
2,9 | 2,0 |
1
|
| ФН11/2-6 У фл. | 0,6 |
2
|
|||||||||||
| ФН2-2 У фл. | 50 | 0,3 | 0,019 |
152
|
93
|
118
|
152
|
57
|
110
|
3,1 | 3,0 |
1
|
|
| ФН2-6 У фл. | 0,6 |
2
|
|||||||||||
| ФН21/2-1 У | 65 | 0,3 | 0,025 |
201
|
129
|
143
|
179
|
72
|
130
|
4,8 | 2,9 |
1
|
|
| ФН21/2-6 У | 0,6 |
2
|
|||||||||||
| ФН3-1 У | 80 | 0,3 | 0,032 |
229
|
145
|
168
|
189
|
77
|
150
|
18 | 6,0 | 3,0 |
1
|
| ФН3-6 У | 0,6 |
2
|
|||||||||||
| ФН4-1 У | 100 | 0,3 | 0,037 |
247
|
154
|
183
|
214
|
90
|
170
|
7,0 |
4,4
|
1
|
|
| ФН4-6 У | 0,6 |
2
|
|||||||||||

